11 February 2014: It was a warm and somewhat sunny day so I decided to do some work on Heidi. Actually
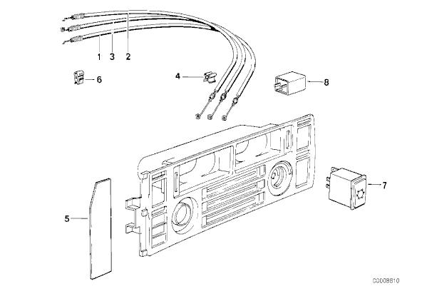
connected the bowden cables in the HVAC unit so now you can use the sliders to regulate the air flow. Also
replaced the fan switch since it was broken.
06 March 2014: More "fixes" that I found made it necessary to change out the stabilizer links. Also checked the slave
cylinder and it appeared to be dry. Next check will be the master cylinder.





2 April 2014: Mike took Heidi back and is going to fix her up. The first thing that Mike and Rick did was switch out the slave
cylinder. Looked like that was not really necessary since it seemed just to be the hose from the slave to the master cylinder
that was lose. They put the new slave cylinder in anyway and fastened the shifter plate. Bad part is that both repairs did not
eliminate the need to install the other transmission. Good news is that Mike has help and a lift up there in Aurora.
August 2014: Rick and Mike fixed the exhaust and discovered that the reason why it did not hold at all was a redneck fixing.
Rick fixed the exhaust for Mike's Birthday. Redneck meant to tighten the exhaust leak at the exhaust manifold and just screwed
in some bolts that were not even the right size. Rick wound up replacing the exhaust manifold and all is well now. Now that
everything is stock, it holds and Heidi runs quieter than ever.
June 27 2015: Rick emerged as the hero by swapping out the transmission on Heidi with one that I got down in Canyon City a
long time ago. This was way overdue. Thanks Rick! It took us 10 hours but only because we had a hard time since someone
messed up 4 out of the 10 bolts!











Here is the "new" transmission with Rick still
relatively clean.
The old one
The clutch
Rick wins!
17 June 2015: When it rains it pours! The rod of the slave cylinder broke off and fell into the transmission housing. So in
order to get it out, Rick and Mike had to get the transmission to move back. Mike installed a new slave cylinder and put the
transmission back into place.
20 June 2015: With everything in place, the clutch still is not working and we unanimously arrived at the conclusion that it has
to be the master cylinder. That was late in the evening and Mike was worn out.
21 June 2015: Mike is still in the process getting the master cylinder out. Of course Mike is a Steinbauer and a nut stripped
which makes it harder to take it out.
The old slave cylinder
Stripped nut
The old master cylinder where it is
clear where the problem was.
August 2015: Heidi went brain dead. Good thing we had an extra brain that we could pop in and continue motoring. The
brain is the control unit. No idea why that broke but it did.
20 October 2015: Mike changed out the covers (#11 in the picture) since the ones he had on there were so rusted and did
not hold the spoiler he installed.
Performed maintenance on the Windshield washer system. Lubricated the motor, changed out
the washer reservoir, and adjusted the spray pattern.
21 February 2016: Mike and I went down to the Upull and got a hood and a trunk lid and installed it. While we were in the
process we actually connected the bowden cable again and installed a fixed HVAC unit.
28 August 2016: Heidi had some cutouts where she lost randomly power. We took the ground connectors, cleaned them,
and lubricated them. No problem since.
10 September 2016: A while back, the power lock module died and Mike painfully discovered that the ignition key does not
fit in the trunk. Not to bad but if you don't have the money, nobody in the family has an extra one, and you need to get into
the trunk it may create a small dilemma. Mike came by and I drilled out the lock holder like I did with Igor. Good thing is that
Rick has and extra one where the lock can be keyed to the ignition key
26 December 2016: Late entry: Mike fixed the power locks and now he can open and lock Heidi with his remote again.
Mike, Rick, and I also changed the front struts. Today we really hopped to it and put all of this and some of last years
Christmas presents in. Starting with the oil pressure switch, hood struts, the heater valve, and an adjusting bar for the
alternator. So much about the front, now to the rear, New shocks in the rear and while we were there anyway, we changed
the rotors which really needed it. Did not change the pads since they still have a lot of miles on them, Finished just in time
for Mike to go to work today, He should be a happy Motorist today! I am glad I was off and had the time to help him.
4 March 2017: Looks like this is the end. Mike bought a car today. No idea what his plans are for Heidi. All I know is that
this time I am not buying Heidi again just to sell her back to Mike at some point in the future. I have no time or desire to work
on Heidi since I have yet to get Igor going. Next possible move could be back to one of her previous owners.
1 September 2017: Mike came over and mounted the gear shift plate so it would stay on once and for all. We checked on
the lock on the driver door and discovered that the mechanism is broken, It still locks and unlocks but only with the keyless
entry system.